专注于快递物流信息高效管理的工具
猪猪云快递批量查询是一款专注于快递物流信息高效管理的工具,支持批量查询国内外主流及非主流快递公司单号,提供实时物流状态追踪、异常预警及数据统计功能,并且软件采用绿色免安装设计,适用于电商商家、物流公司及个人用户快速处理海量快递单号,优化物流管理效率。
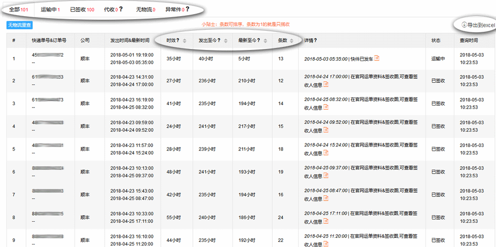
1、支持52家快递企业单号批量处理,平均查询速度达5单/秒。
2、自动识别快递公司,无需手动选择,支持从Excel导入单号或直接粘贴查询。
3、实时显示发货时长、运输状态、最新更新时间及物流轨迹。
4、异常件自动标记,支持4次反复核查确保信息准确性。
5、统计总订单数、运输中数量、签收数量,生成可视化报表。
6、查询结果可导出为Excel或文本网页,支持自定义字段筛选。
7、本地化处理数据,避免敏感信息上传云端,符合GDPR隐私规范。
8、支持离线查询模式,无网络环境下仍可调用历史数据库。
1、绿色免安装
解压后直接运行,无捆绑插件,兼容老旧系统。
2、界面直观
分栏显示单号列表、物流详情及统计面板,支持一键刷新与暂停任务。
3、API接口开放
支持与ERP、WMS系统对接,实现物流数据自动化同步。
4、团队协作模式
支持多级账号权限管理,适配客服、仓储部门协同需求。
5、历史版本回滚
可切换至2019年经典版界面,适配习惯旧版操作的用户。
1、 在本站下载猪猪云快递批量查询安装包。

2、 下载完成后解压安装包,找到并双击.exe安装文件。

3、软件无需安装过程,打开即可使用。

Q:查询速度突然变慢?
A:
1、检查网络带宽,优先使用有线连接;
2、减少同时查询任务数(建议单次≤500单)。
Q:导出的Excel缺少时间戳?
A:
1、在导出设置中勾选“包含时间字段”;
2、更新至V2025.2.14.14版本,修复时间解析BUG。
Q:如何识别快递公司缩写?
A:
1、使用“智能识别”模式,自动匹配缩写与全称(如“SF”→顺丰);
2、手动添加自定义快递公司代码至config.ini文件。
Q:软件提示“接口限流”怎么办?
A:
1、切换至备用快递公司接口(如中通→备用通道);
2、联系客服申请企业级高并发权限。
Q:旧版数据如何迁移?
A:使用“数据导入向导”→选择历史CSV→映射字段→完成迁移。
软件分类:交通运输
运行环境:win7及以上
官网地址:https://yun.zhuzhufanli.com/
软件语言:简体中文
授权:免费软件
软件类型:行业软件
备案号:苏ICP备11002478号-1